搬瓦工香港HK85 [HKHK_3]机房测评

搬瓦工香港HK85 [HKHK_3]机房测评
Longans1.前言
测试结果具有时效性,本文测试时间2024年10月20日,北京时间晚上7点半(7:30PM,CST)
- 本次测试的HK85机房来自搬瓦工推出的The plan v2套餐。THE PLAN V2是 THE PLAN V1的升级版本,后者$29美元/季度,$55美元/半年,$99美元/年,2核 CPU,2GB 内存,40GB SSD 硬盘,1000GB 流量,可选美国洛杉矶 DC6 CN2 GIA-E、DC9 CN2 GIA、中国香港 HK85、日本大阪软银、荷兰联通 9929、加拿大温哥华 CN2 GIA 等 19 个机房!同等配置常规套餐需要约 $299.99 美元。
- THE PLAN V2的可选机房如下,测试ip:45.78.18.149
2.服务器基础硬件信息
- 用wget -qO- bench.sh | bash脚本测试信息如下:
- 已经开启了BBR拥堵算法,用speedtest测机房本地带宽上下行都是2.5Gbps(实际上机房传输到用户所在地,会有较大的宽带损失。用户本地测到的下载带宽,对应的是机房的上传带宽,一般是机房的上传带宽*0.25左右。),在ping0.cc网站检测ip的质量,类型为机房类型的广播ip。
- 流媒体解锁检测如下,脚本是 bash <(curl -L -s media.ispvps.com) -M 4 (只检测ipv4,截止2024年底,搬瓦工的服务器也没有ipv6)
3.三网路由线路
- 电信去程:走CN2 GIA 线路直连香港,59.43开头的路由ip就是GIA线路编号ip。
移动去程:走普通线路PCCW(编号AS9808)和普通线路CMI(编号AS58453)直连香港。
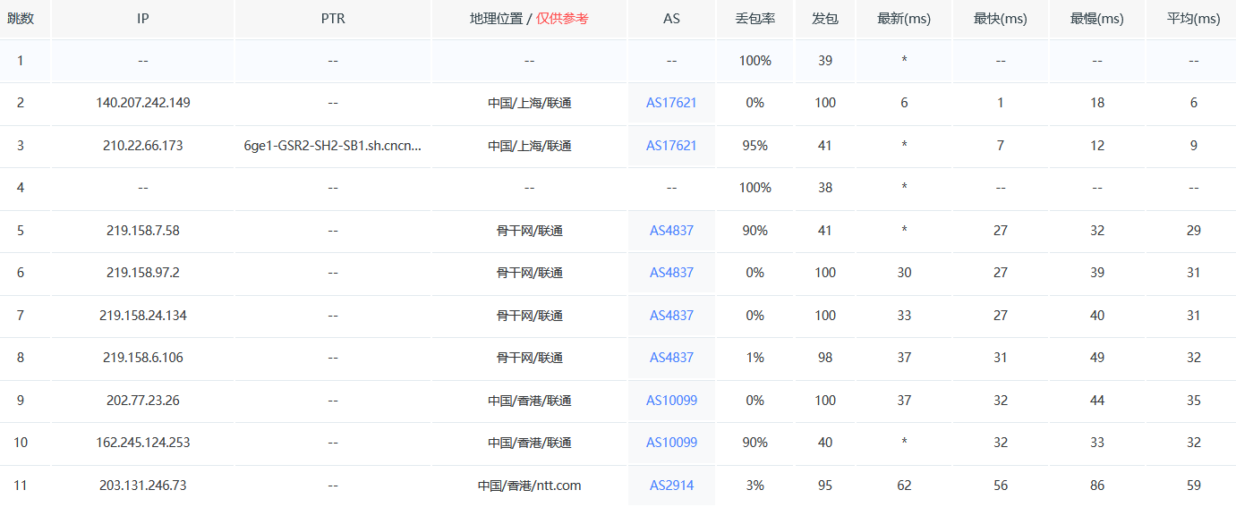
联通去程:走普通线路AS4837后转优化线路9929(编号AS10099)直连香港
全国ping延迟如下
回程:三网走CMI直连内地
电信回程:CMI
移动回程:CMI
联通回程:CMI
4.晚高峰速度测试
- 本地带宽为中国大陆中部城市电信带宽,1Gbps口子,本地ping延迟57ms左右。speedtest 多线程测试如下:
- speedtest单线程测试如下:
- youtube的4K视频速率如下:
5.总结
- 省流:本地电信下,作主力用一个月稳如老狗,刷油管4K没问题
评论
匿名评论隐私政策
✅ 你无需删除空行,直接评论以获取最佳展示效果





















